信息检索
推荐新闻
联系我们
看腻了路灯一成不变的样子?看这里!超20款创意路灯大合集
路灯作为公共区域的照明工具,长久以来一直都是人们晚上日常活动中不可或缺的部分。
随着社会的不断发展,人们对于美的要求不断增长,致使路灯的设计越来越多元化。下面小编将带大家欣赏多款创意型路灯,领略设计师们脑洞大开的创意,Let's go!
“电力花朵”路灯,小居室环境也适用
阿姆斯特丹建筑事务所NL architects曾经设计过一个名为“电力花朵”的城市风能装置,可以用于人口密集区域。针对于目前有关风能发电的研究,设计师最终设计了一个带有多重分支螺旋桨的小型风力涡轮机。


普通的三叶片涡轮机通常需要一个放大五倍的开放活动半径和一个坚固沉重的基础。不同于这种传统涡轮机,“电力花朵”最突出的特点是可以安装在空间相对较小的居家环境中。



P850路灯,时尚外观灯泡寿命可延长
P850是一个很有突破性的路灯设计,它结合了热学、光学的知识以简单而又美观的方式到达了最大的节能效果。
对于电灯来说最影响它寿命的就是在高温下消耗掉的灯丝使得电阻变大,这个设计采用了非常低的热阻和极低的电流以最大地延长灯泡的使用寿命。时尚的外观、超低的重量和便捷的安装,让它能够替换掉很多现有的路灯设备。
“银河”路灯,更少能源覆盖更多照明区域




设计师Sungkuk Park有一个深思熟虑的想法,他运用先进的LED,碳纤维,反射炉,生物树脂涂料,创造了一个灯光投射出的路灯,像星星洒在街上一样闪闪发光。这可以用比传统灯更少的能源来覆盖整个街面。


“城市家具”,更和谐的环境路灯
“城市家具”一词源于欧美等经济发达国家,它是英文“Street Furniture”的中文解释。之所以被称为“家具”,是因为它蕴含了人们对城市生活的憧憬 ,户外场所能像家一样方便舒适。定义虽然不甚严密,却给人一种备觉亲切的感觉,使得冰冷的设施也变得温馨。
“城市家具”这一有着特定涵义的概念,确实给人留下了深刻的印象。而这种“深刻”在于它提示了一个新观点,引导人们重新审视自身周围的事物、思考这些事物存在的意义,并倡导从谋求“人—物—环境”系统和谐的认识高度上,“合理”地建设现在、把握未来。
这是一组路灯设计,产品表达的是4点路灯在2种状态下白天和晚上要有不同的效果。路灯设计不单是形态的设计,更重要是设计一种氛围和路灯与周围环境的关系。


雕塑感的产品在白天成为钢筋水泥丛林中的一个小型视觉符号;晚上点亮时则达到突出路灯功能的核心——光的同时弱化路灯形体本身的效果。




带垃圾桶的太阳能路灯,节能也更卫生
太阳能发电和废物利用一直是绿色设计的热点,但是不同于那些虚无的概念设计,这个叫做 City Context城市文脉的设计是个实用和有效的设计。
它结合了对绿色能源的利用和废物利用两者的利处,将垃圾桶与太阳能路灯一体化设计,不仅方便节能,还对城市整体风貌做了一个很大的改进。
白天路灯吸收太阳能,灯柱的各种颜色和明显图标能够轻易的分辨垃圾桶的分类,使用磁卡来打开垃圾收集器,垃圾的盗窃、意外翻倒、卫生问题都能一气呵成的解决。


利用废电池供电的路灯,十分环保
众所周知,电池中的碱对土地的破坏是不可估量的,因此需要对电池作回收利用处理,但是目前来说,回收利用电池的渠道与方式并不多,因此设计师尝试设计了一款废电池收集箱兼路灯energy seed,相信能够受到欢迎。



这款路灯不仅有收集废电池的作用,还能对废电池中剩余的电进行利用——为路灯提供电力。
太阳能路灯,高强度低功耗
由丹麦设计师Michel Riss和Jens Rosbjerg共同设计的“太阳之花”路灯是一种高强度,低功耗的新型产品,主要应用在公共场所,如停车场和花园、街道等地。
该灯完全由外部电源供能,利用太阳能电池和5个56W功率的LED灯,大大提高了它的使用寿命。而其可自动调节的开关功能,更是为人们的生活送上了高层次的便捷。



用垃圾作为能量的路灯,绿化我们的城市
以垃圾为能量的灯柱似乎是一个奇怪的想法,但如果你对城市垃圾和能源需求的比例进行分析,你会发现这个想法开始变得有意义了。



灯柱收集垃圾并且转换为甲烷,使用甲烷作为燃料供电给灯,如此一来便可以重新绿化我们的城市。
整个想法环保新颖,但现在还不清楚到底需要多大的垃圾量才能保持这样一个系统正常运行。



长颈鹿仿生路灯,展现良好的生态意识
由设计师Chen Wei & Lu Yanxin设计,可以自主摆动,在夜间可以自主提供照明的长颈鹿路灯。
这是一个很巧妙的设计,每次秋千的摆动和太阳能电池板都可以给这个路灯充电,对城市的环境绿化很有帮助,同时生态意识也很好。




智能感应风能发电路灯,节约能源创意足
车辆开过,其高速动作往往能够带起一阵风,速度达到一定程度的时候,这股气流甚至会将人卷走,发生危险,这也是高速公路、地铁干道、火车铁轨等交通工具干道附近安装护栏的原因之一。
而设计师则打算将这股气流运用起来,他们计划在公路路灯上安置一个附加设备,将这股风能收集并转化为电能,为路灯照明提供能源支持。此外,路灯之间还能通过无线沟通,当车辆经过的时候通知前方一定范围内的同伴打起精神,工作起来。
这样一来,即使夜晚来临,路灯也不必彻夜亮起,只有车辆经过的时候才会点亮,节约了能源。
会开花的路灯,一朵开在心里的温暖之花
耶路撒冷,一个叫瓦莱罗的广场坐落在城市中心,这里有繁忙的有轨电车、电力站、带橱窗的商店,但没有人会停下脚步,相互问候,示以微笑,设计师们认为,人们忽略了空间,也忽略了自己。
为此,HQ建筑设计事务制作了4朵花“Warde”,希望可以打破城市广场的灰败与冷漠。
4朵鲜红色的大花被安置在瓦莱罗广场中心,每一朵花的直径长达9米,并配有独立的感应器,当有人靠近时,花朵盛开,完全绽放,当人们远去,花瓣合拢下落,感应器不仅感知人,当电车接近车站时,也会引发同样的的绽放效果。








向日葵路灯,路灯与自然的有趣结合
悉尼为庆祝Vivid Sydney举办了史上规模最强大的灯光节。
其中,有设计师化身为花精灵,与大自然的花们来了一场华丽丽的爵士舞,让本身单调无趣的路灯,变得妙趣横生。

一排只在晚间盛开的向日葵生长在悉尼帆船歌剧院旁边,跟自然界的向日葵一样,也依靠太阳光生长,她们利用太阳能装置,白天吸收,晚上发光。
蒲公英路灯,童年回忆与心灵治愈共存
如果你在路上看到这样一簇蒲公英灯,相信你也会驻足观望,蒲公英随风飘向远方的样子是否已经出现在你的脑海?

愿蒲公英路灯带给你童年的回忆,带给你心灵上无限治愈的能力。
及时伞创意路灯,实用又暖心
走在路上,突遭大雨是一件很糟心的事情。此时,如果有这样一个路灯,在下雨的时候为你撑起一把伞,将让人觉得十分暖心。
这是天马行空的设计师制作的一款雨伞创意路灯——据说有一滴雨滴在路灯上,它所配置的雨伞就会自动打开。如此一来,下雨时是不是就不用担心没带伞了?

靠你发电路灯,你的力量能带来光明
累了?一起来坐一坐!
这款路灯的长椅可以延伸到15米长,灯柱子上还有一个充电小孔,休息的同时还能顺便给手机充一会儿电;三个云朵一样的灯罩,其中两个用来照明,第三个是面朝上的太阳能电池板,不仅节能还很环保;铝制的拱顶使灯光直接向下散布开来,还能将灯光污染降到最低。
拉斯维加斯的Boulder Plaza路,安装的太阳能路灯,能源除了来自太阳,路过的行人也能为这份光明献出了力量。
路灯前面设有几个脚踏板,当行人路过踩到路灯前方配套的踏板后,每一步都能为路灯提供电力,一步最多可以产生7W电力。
竹质风力路灯 ,环保又美观
现代化的竹灯,是用竹子做成的风力发电路灯,其叶片和支架都是用竹子制成,而光源则采用的低能耗LED。
叶片采用了DNA式的螺旋布局,两边则各有一颗LED,当风吹动叶片转动发电时,LED将被点亮,变成非常漂亮的路灯。
竹质风力路灯的细节,叶片和支架都是用竹子制成,环保美观。
交互式路灯 ,趣味互动
这一个看起来没什么特别,就跟普通的街道路灯没什么两样,神奇的是在它的灯头处隐藏着一个红外摄像头,向舞台灯光一样,能够投射出一道圆形的白色光到人行道上。
这个摄像头可以记录任何经过灯光下运动产生的形状,包括人类或者动物。而这些所记录到的形状,经过计算机处理将创建出一个人工阴影效果,当别人经过路灯的时候,就会将这个黑色立体的影像投影到地面上。
不过,在夜深人静的时候,突然出现其他人的影子,敢问路人心理阴影面积有多大?
“矢车菊”路灯,光照范围广还会自动调光
KEHA3设计了一款以“矢车菊”命名花语为“幸福”的路灯,它叶长圆形,边花较大,头状花序形似花篮。
这款路灯顶部有6~8朵LED“花瓣”,分别指向不同的方向,光照范围更广;6~12米不等的高度;铝材为主,以镀锌钢粉饰;功能上,还增添智能控制模块,便于行走或停歇在周围的人调整其光亮。
会说话的路灯,宛如能随心情般多变
创意真的可以给人带来欢乐!
这路灯就如同漫画书中的讲话气泡,显示板是多变的,可以根据季节或事件变化不同的主题;全天的颜色也是多变的,还能够确保可见度。
树干造型路灯,节能环保还便民
累了?一起来坐一坐!
这款路灯的长椅可以延伸到15米长,灯柱子上还有一个充电小孔,休息的同时还能顺便给手机充一会儿电;三个云朵一样的灯罩,其中两个用来照明,第三个是面朝上的太阳能电池板,不仅节能还很环保;铝制的拱顶使灯光直接向下散布开来,还能将灯光污染降到最低。
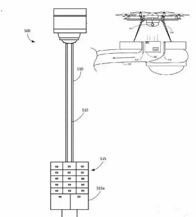
LED路灯+无人机,黑科技感十足
这个设计来源于亚马逊,简单来说,就是在把LED路灯的头顶做成无人机的停机坪,这样无人机可以在城市的任何一条马路边上随时找到停机坪。
如果事情仅仅是这样,这件事就不够黑科技。亚马逊的整体解决方案里面,包含了卫星、通讯基站、服务器、LED路灯、无人机。原本平凡的LED路灯是跟太空中的卫星在一起工作,瞬间高大上了。
除此之外,路灯还能为无人机提供充电、更换电池服务;能为无人机加燃料。能传递包裹;在恶劣天气,为无人机遮风挡雨,提供庇护。
“萤”,既能循环利用还能保障安全
未来,灯杆的“智慧”不会只体现在加载于它身上的各种智慧模块,还会体现在它的呈现形式上。
会飞的路灯名叫“萤”,它像萤火虫一样,通过无人机飞在空中为行人提供(超出道路范围的)不间断照明。
这些无人机灯具平时会自动停留在杆子顶部的基座上,若行人到附近小巷或绿化带,无人机路灯便会起飞,进入跟随模式,当电力不足时会自动调度周围的同款路灯进行交接。
这款路灯既能确保安全,又能循环利用,或许在将来还能为单身人士的夜间安全提供一定的保障。
创意在一定程度上为路灯赋予了生命质感,鲜活的形象、情感的温度、主旨的深度、独特的风格均能让人流连忘返,期待设计师们带来更多创意十足的作品。
备注:本文图片及文字内容来源于“阿拉丁照明网”微信公众号




















